Thống kê sáng chế theo loại lĩnh vực
Thống kê sáng chế theo năm
Tra cứu sáng chế & Giải pháp hữu ích
Kiểm tra trùng lặp
| STT | Loại hình | Số đơn | Lĩnh vực | Sáng chế | Chủ đơn | Địa chỉ | Hình ảnh | Ngày công bố | Trạng thái đơn |
|---|---|---|---|---|---|---|---|---|---|
| 41 | giải pháp hữu ích | 2-2020-00454 | Kỹ thuật cơ khí | Máy lột vỏ quả dừa | Trường Đại học Trà Vinh | 126 Nguyễn Thiện Thành, khóm 4, Hòa Thuận, Vĩnh Long |
|
25/03/2022 |
Chờ công bố
|
| 42 | giải pháp hữu ích | 2-2021-00553 | Hóa học | QUY TRÌNH SẢN XUẤT DỪA SÁP SẤY KHÔ VÀ SẢN PHẨM THU ĐƯỢC THEO QUY TRÌNH NÀY | Công ty TNHH Chế biến dừa sáp Cầu Kè | 253/5 Ấp 2, Xã Thạnh Phú, Huyện Cầu Kè, Tỉnh Trà Vinh | No image | 25/02/2022 |
Chờ duyệt CV
|
| 43 | giải pháp hữu ích | 2-2021-00503 | Hóa học | QUY TRÌNH CHẾ BIẾN SẢN PHẨM SỮA CHUA DỪA SÁP (MAKAPUNO COCONUTS) VÀ SẢN PHẨM SỮA CHUA DỪA SÁP THU ĐƯỢC BỞI QUY TRÌNH NÀY | Công ty TNHH chế biến dừa sáp Cầu Kè | 253/5 ấp 2, xã Thạnh Phú, huyện Cầu Kè, tỉnh Trà Vinh | No image | 25/01/2022 |
Chờ công bố
|
| 44 | sáng chế | 1-2021-00579 | Không được phân loại | Máy tách xơ dừa | Phùng Minh Chí | Hưng Khánh Trung B, huyện Chợ Lách, tỉnh Bến Tre, Việt Nam | No image | 25/01/2022 |
Đã cập nhật Bản mô tả
|
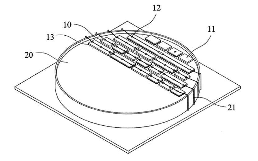
| 45 | sáng chế | 1-2021-05186 | Kỹ thuật điện | Thiết bị phân loại dừa sáp nhờ đo và phân tích sóng âm | TRƯỜNG ĐẠI HỌC TRÀ VINH | 126 Nguyễn Thiện Thành, P5, TP. Trà Vinh, tỉnh Trà Vinh |
|
25/11/2021 |
Đã công bố
|
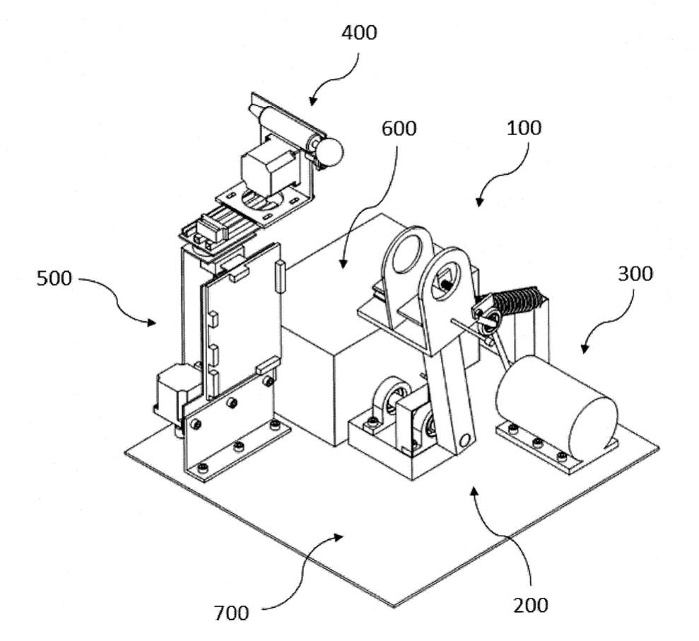
| 46 | giải pháp hữu ích | 2-2020-00186 | Kỹ thuật điện | Hệ thống điều khiển tưới tự động | TRƯỜNG ĐẠI HỌC SƯ PHẠM KỸ THUẬT VĨNH LONG | Số 73, Nguyễn Huệ, Phường 2, thành phố Vĩnh Long, tỉnh Vĩnh Long |
|
25/11/2021 |
Đã công bố
|
| 47 | giải pháp hữu ích | 2-2024-00026 | Hóa học | QUY TRÌNH NHÂN NHANH IN VITRO GIỐNG DỪA SÁP (Makapuno coconuts) THÔNG QUA GIAI ĐOẠN TẠO PHÔI VÔ TÍNH | Viện Di truyền Nông nghiệp | Km2, Đường Phạm Văn Đồng, Từ Liêm, Hà Nội | No image | 25/10/2021 |
Đã công bố
|
| 48 | giải pháp hữu ích | 2-2021-00262 | Dụng cụ | Hệ thống tấm xốp polyme để che hồ nuôi trồng thủy sản | Công ty Cổ phần Rynan Technologies VIETNAM | Ấp Long Trị, xã Long Đức, TP. Trà Vinh, tỉnh Trà Vinh |
|
27/09/2021 |
Đã công bố
|
| 49 | sáng chế | 1-2021-03191 | Hóa học | Phương pháp sản xuất giống tôm càng xanh (Macrobrachium rosenbergii) ứng dụng biofloc | TRƯỜNG ĐẠI HỌC CẦN THƠ | Khu II, đường 3/2, P. Xuân Khánh, Q. Ninh Kiều, Cần Thơ |
|
25/08/2021 |
Chờ duyệt CV
|
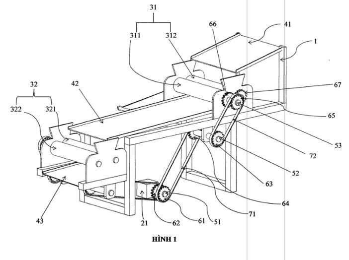
| 50 | giải pháp hữu ích | 2-2020-00004 | Kỹ thuật cơ khí | Máy cán cốm dẹp | Cao Anh Khoa | Khóm 3, thị trấn Châu Thành, huyện Châu Thành, tỉnh Trà Vinh |
|
26/07/2021 |
Từ chối cấp VBBH
|