Thống kê sáng chế theo loại lĩnh vực

Thống kê sáng chế theo năm

Tra cứu sáng chế & Giải pháp hữu ích Kiểm tra trùng lặp
STT Loại hình Số đơn Lĩnh vực Sáng chế Chủ đơn Địa chỉ Hình ảnh Ngày công bố Trạng thái đơn
51 sáng chế 2-2019-00489 Hóa học Quy trình sản xuất ống hút từ nước dừa và ống hút thu được từ quy trình này Công ty TNHH chế biến sản phẩm dừa Cửu Long Số 15 B, đường Nguyễn Đình Chiểu, khu phố 1, phường 8, thành phố Bến Tre, tỉnh Bến Tre 1-2019-05163_1.jpg 25/05/2021
Từ chối cấp VBBH
52 sáng chế 1-2019-06318 Kỹ thuật cơ khí Dụng cụ bơm nước giếng khoan Nguyễn Văn Đua ấp Trà ôn, xã Tân An, huyện Càng Long, tỉnh Trà Vinh VN1201906318_DRAWINGS_1_1-2019-06318.jpg 25/05/2021
Hết hạn hiệu lực VBBH
53 giải pháp hữu ích 2-2019-00449 Hóa học Quy trình nhân giống dừa sáp (Cocos nucifera var. sap) bằng phương pháp nuôi cấy phôi hữu tính Trường Đại học Trà Vinh 126 Nguyễn Thiện Thành, P5, TP. Trà Vinh, tỉnh Trà Vinh No image 26/04/2021
Đã công bố
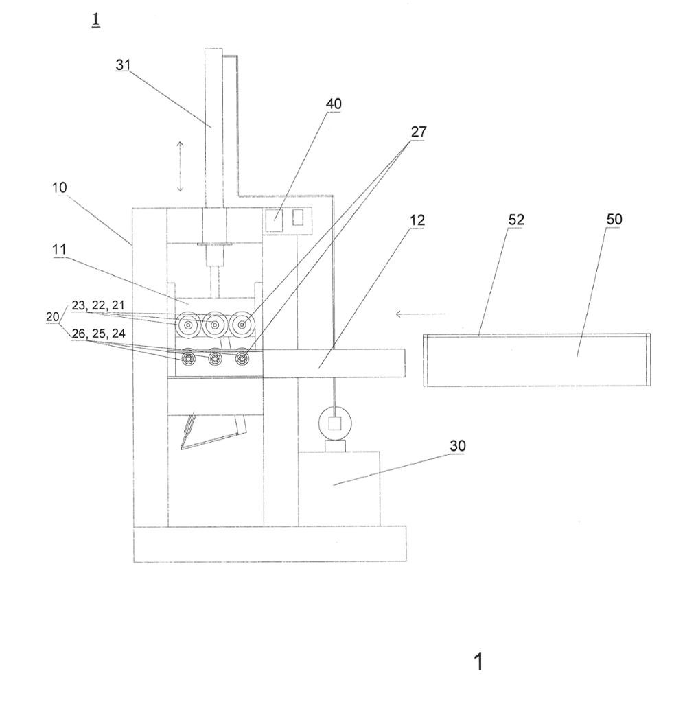
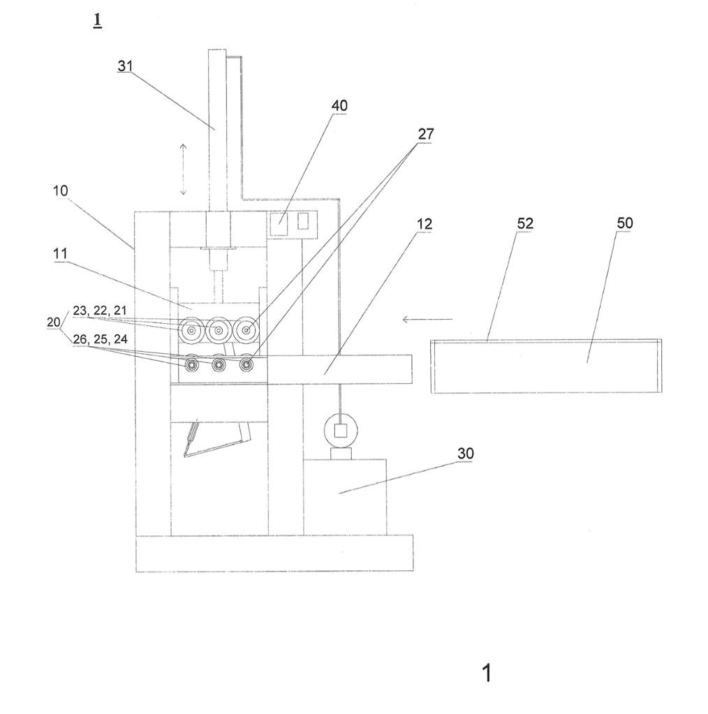
54 sáng chế 1-2019-05163 Không được phân loại Hệ thống rửa cơm dừa Phùng Minh Chí Hưng Khánh Trung B, chợ Lách, tỉnh Bến Tre No image 25/03/2021
Đã công bố
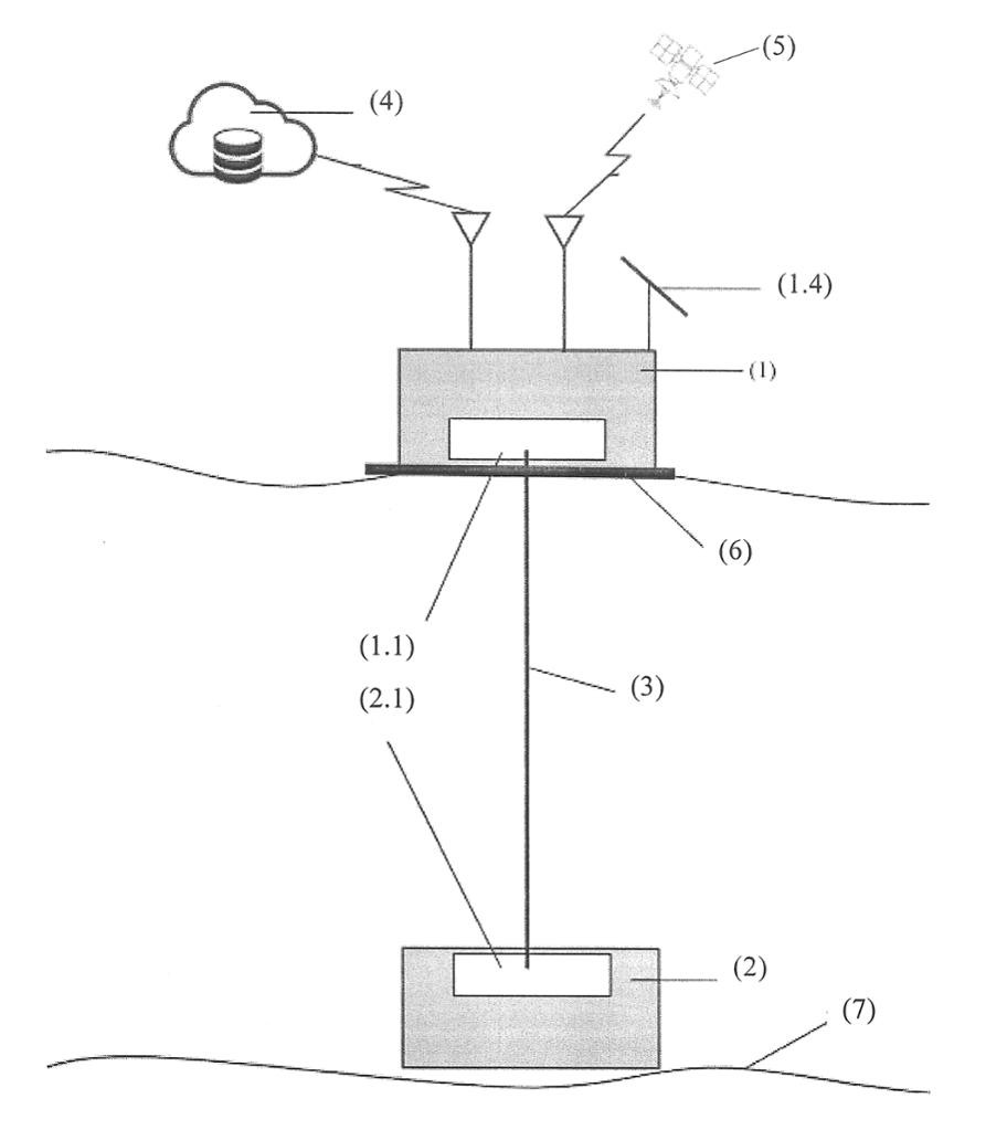
55 sáng chế 1-2020-05108 Kỹ thuật điện Hệ thống truyền dữ liệu trong nước phục vụ quan trắc môi trường TRƯỜNG ĐẠI HỌC TRÀ VINH 126 Nguyễn Thiện Thành, P5, TP. Trà Vinh, tỉnh Trà Vinh VN1202005108_DRAWINGS_1_1-2020-05108.jpg 25/01/2021
Đã cập nhật Bản mô tả
56 sáng chế 2-2020-00580 Không được phân loại Hệ thống thủy canh hồi lưu tự động Nguyễn Phương Ghi 188/1 Giao Thạnh, Thạnh Phú, tỉnh Bến Tre 2-2020-00580_1.jpg 25/01/2021
Đã công bố
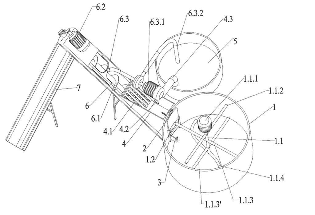
57 giải pháp hữu ích 2-2022-00331 Kỹ thuật điện Hệ thống truyền dữ liệu trong nước phục vụ quan trắc môi trường Trường Đại học Trà Vinh 126 Nguyễn Thiện Thành, P5, TP. Trà Vinh, tỉnh Trà Vinh VN2202200331_DRAWINGS_1_2-2022-00331.jpg 25/01/2021
Đã công bố
58 sáng chế 1-2020-00724 Hóa học Phương pháp tái chế bùn thải thành phân bón hữu cơ tan chậm Công ty Cổ phần Rynan Smart Fertilizers KCN Long Đức, xã Long Đức, TP. Trà Vinh, tỉnh Trà Vinh VN1202000724_DRAWINGS_1_1-2020-00724.jpg 25/09/2020
Từ chối cấp VBBH
59 sáng chế 1-2019-00333 Kỹ thuật cơ khí Cơ cấu xếp nếp gấp đôi trên khuôn đá cây Hộ kinh doanh Tân Thuận Tổ 17, ấp Phước Long, xã Lộc Hòa, huyện Long Hồ, tỉnh Vĩnh Long VN1201900333_DRAWINGS_1_1-2019-00333.jpg 27/07/2020
Đã công bố
60 sáng chế 1-2019-00332 Kỹ thuật cơ khí Cơ cấu tạo nếp gấp đôi trên đáy khuôn đá cây Hộ kinh doanh Tân Thuận Tổ 17, ấp Phước Long, xã Lộc Hòa, huyện Long Hồ, tỉnh Vĩnh Long VN1201900333_DRAWINGS_1_1-2019-00333.jpg 27/07/2020
Đã cập nhật Bản mô tả